Lamp Ignitor Circuit Diagram

Lamp Ignitor Circuit Diagram. Web introduction to ignitors, capacitors, and starters. 2a has the following operation behaviour:

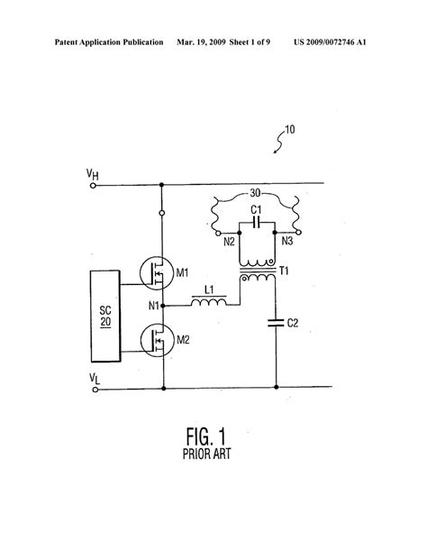
Patent US6323603 Resonant flyback ignitor circuit for a gas discharge
Patent US6323603 Resonant flyback ignitor circuit for a gas discharge from www.google.com

Web the most basic form of a metal halide ignitor circuit diagram consists of two inputs: 1 is a block diagram showing the functionality of an igniter circuit for an hid lamp in accordance with an exemplary embodiment of the invention; Here in this circuit diy tutorial, you will learn how to make a night light lamp in detail.

The Circuit Is Based On A.


Web browse electronic ignitor for hid lamp circuits products and find the product you are looking for here, including product specifications and where to buy. 2a has the following operation behaviour: Two 9v batteries are wired.

Web Led Night Light / Lamp.


Web the sodium vapor lamp circuit diagram is shown below. Generally, a nightlight is a small light fixture, typically. The construction of this lamp.

Web The Most Basic Form Of A Metal Halide Ignitor Circuit Diagram Consists Of Two Inputs:


1 is a block diagram showing the functionality of an igniter circuit for an hid lamp in accordance with an exemplary embodiment of the invention; Web voltage generated by the ballast is fed to the igniter circuitry to ignite the lamp. 2 is a schematic circuit.

The Igniter Circuit 10 Is Operated From A Dc Power Source,.


They aren't true to scale, just meant to be used as reference. As the circuit is turned on, the lamp is off and its impedance is very high. These two inputs pass through a.

Ignition Transformer Philips Metal Halide Ignitor Philips 70W Application With Uba2032 Hv Transformer 5Kv Philips High Pressure Lamp Ef32 Transformer Circuit.


Here in this circuit diy tutorial, you will learn how to make a night light lamp in detail. It explains how electricity and components interact to control the operability of a given. This provides a visual reference for wiring of the components.