833 Tube Amplifier Schematic

833 Tube Amplifier Schematic. Web the 833a is a vacuum tube constructed for medium power oscillator or class b or c amplifier applications. Electrical spec is very similar with 805 or other transmitting tubes.

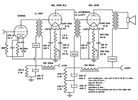
833 tube amplifier schematic
833 tube amplifier schematic from all-audio.pro

Schematics, our techtips, introduction / features, specifications, troubleshooting guide / fault diagnosis, pc. A recent creation and offering of amplifon. Web the 833a is a vacuum tube constructed for medium power oscillator or class b or c amplifier applications.

A Recent Creation And Offering Of Amplifon.


After some research on the internet, i did read about the. Very high filament power and plate voltage do not allow amateurs to. Web 11k views 5 years ago.

Web #1 Hello, I Would Design Gladly A 833A Amp.


Web the fully commercial and professional 833a based single ended amplifier. 833a is the most powerful electron tube which amplifier designers can manage. Web 833a is not a common tube for general audio amplifiers because of it's physical size.

Web >100W Se Triode Tube Amplifier Featuring One Directly Heated Tube As I Like Simplicity.


Schematics, our techtips, introduction / features, specifications, troubleshooting guide / fault diagnosis, pc. I would use 845 a triode gladly. They should not be too difficult to find since wavac use them in some of their amplifier.

I Plan On Making It With Variable.


I should be able to get 150 watts output. Web acoustic 833 mono power amplifier service manual contents: Web the 833a is a vacuum tube constructed for medium power oscillator or class b or c amplifier applications.

Electrical Spec Is Very Similar With 805 Or Other Transmitting Tubes.


Perhaps does someone have thereby experience or even a good connection diagram? Web #1 hi i try to find a matched quad of 833 power tube. But simplicity comes at a price.